Zum Hauptinhalt springen Zur Suche springen Zur Hauptnavigation springen

Pendelverschluss Record H11KSF - rechts

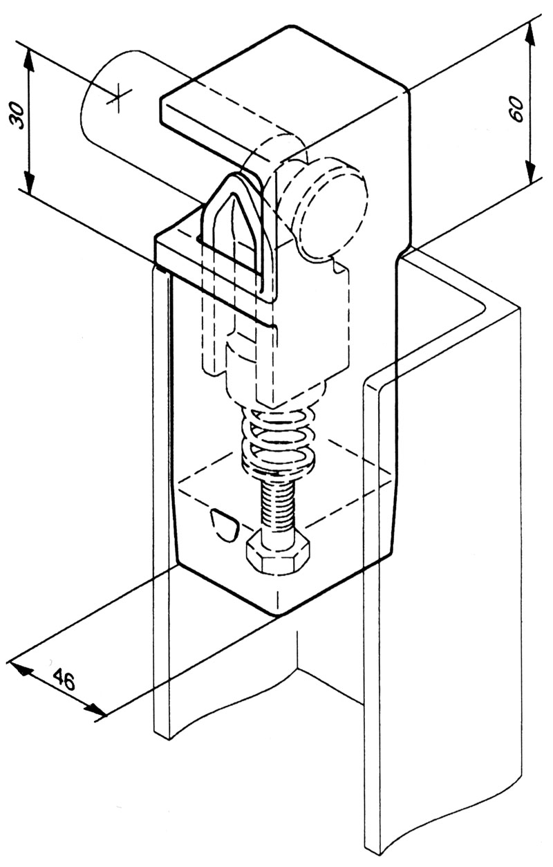
Produktinformationen "Pendelverschluss Record H11KSF - rechts"

Einsatzmöglichkeiten:
Für Kippfahrzeuge, Anhänger, Auflieger mit Mittel- und Ecksäulen, besonders bei hohen Bordwänden aus Stahl oder Aluminium.

Hinweise:
Der Schließriegel kann nur mit Hilfe eines Werkzeuges gelöst werden, wenn die Bordwand abgeklappt werden soll.

Anbauhinweise:
Der Pendelverschluss wird an der Runge verschweißt.

Oberfläche: roh

Gewicht: 2.28 kg
Produktgalerie überspringen

Ähnliche Artikel

Pendelverschluss Record H11 seitlich - L=55mm - links
Einsatzmöglichkeiten:Pendelverschluss für Kipper, Auflieger und Anhänger mit Mittel- und Ecksäulen mit Aluminium- oder Stahlbordwänden.Hinweise:Nur für seitliche Bordwände geeignet!Vorteile:Angenehme Bedienungshöhe bei Fahrzeugen mit hohen Bordwänden.Anbauhinweise:Das Pendellager wird in der Runge verschweißt.Das Bedienungsteil kann verschraubt oder verschweißt werden. Die entsprechenden Schraubpunkte sind nur vorgekörnt und müssen bei Bedarf selbst aufgebohrt werden.Oberfläche: verzinktPendellager: rohGewicht: 3.10 kg

Ab 1,19 €*

Zum Produkt